How to build a Style Shelving of Style Series by AR Shelving
Antes de empezar
Martillo de goma
Uso de guantes obligatorio
Componentes
*Antes de empezar, asegúrate de que cuenta con todos los componentes.
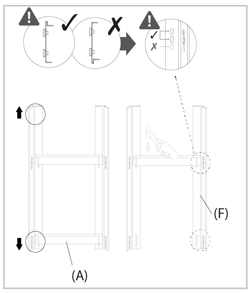
1. Largueros
Coge dos angulares (F) y apóyalos en el suelo de manera que la parte sin
agujeros quede arriba y la parte con agujeros en el borde quede abajo.
A continuación coge uno de los largueros (A), fijándote que esté en el sentido
correcto como se muestra en el video, y une los angulares (F) introduciendo
los largueros (A) en los agujeros inferiores agujero. Una vez tengas el larguero
unido a los dos angulares, coge otro del mismo tamaño y colócalo en los
siguientes agujeros. Repite el proceso en otros dos angulares de manera que
te queden dos partes montadas formando como una escalera.
2. Largueros
Ahora toca unir las dos partes. Coge otros dos largueros (B) y colócalos a la misma altura que has colocado los pequeños de tal forma que los dos módulos que has montado queden unidos por completo. Repite el proceso 3 veces más.
Importante: Recuerda fijarte en que la posición del larguero esté en la posición correcta.
3. Pletinas
Ahora que tu estantería empieza a coger algo de forma, es hora de crecer en altura. Une el resto de los angulares (F) usando las pletinas de unión (C) tal y como se muestra en el video.
Importante: Fíjate que el angular está en la posición correcta con la parte sin agujeros abajo y dejando la parte con agujeros arriba.
4. Largueros
Repite el proceso colocando los largueros (A)(B) en los agujeros de tal forma que te quede como una torre.
Importante: asegúrate de que la posición de los largueros es la correcta.
5. Pies
6. Baldas
Para finalizar, coloca las maderas en cada uno de los niveles. Recuerda que tiene que quedar bien colocada y al ras de los largueros.
Tip: Si ves que no está al ras, probablemente sea porque el larguero no esté bien metido. Retira la madera y asegúrate de que el larguero esté bien abajo.
¡BUEN TRABAJO!
Esperamos haber podido ayudarte. Si por lo que sea tienes alguna duda con algún paso. No dudes en contactar con nosotras. Estaremos encantadas de ayudarte
¿Tienes un minuto?
Tenemos un regalo para ti.
¡Gracias por tu calificación!
Tu opinión es muy importante para nosotros.
